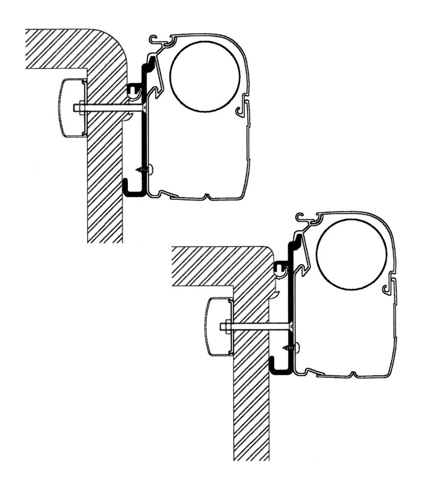
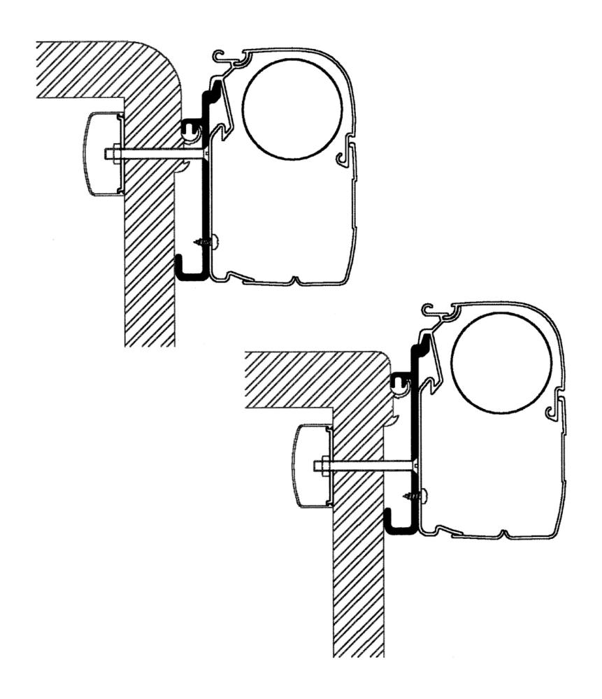
Adapter
Trenger du et pålitelig adapter til markisen din? Vi har festeløsninger som passer til bobil, van og campingvogn, slik at du enkelt kan montere markisen trygt og stabilt. Finn riktig adapter for ditt kjøretøy og få en problemfri campingopplevelse.…Trenger du et pålitelig adapter til markisen din? Vi har festeløsninger som passer til bobil, van og campingvogn, slik at du enkelt kan montere markisen trygt og stabilt. Finn riktig adapter for ditt kjøretøy og få en problemfri campingopplevelse.WW…